歡迎進入河南神玖天航新材料股份有限公司!

石英纖維所用的原料是高純二氧化硅或天然石英晶體,其熔點很高(可達1700多℃)。因此,石英纖維制備方法具有特殊性,目前主要包括直接熔融拉絲法和棒拉絲法兩種方法,這里以棒拉絲法為例,簡要介紹其制備工藝流程和實驗設備。

石英纖維的棒拉絲法制備工藝流程
首先將原料水晶或純凈的二氧化硅粉料放入真空加壓電阻爐內,熔融后拉制成細棒(直徑2mm左右),拉絲時,首先在石英纖維上涂上一層浸潤劑,而后放置于電熱或氫氧火焰環境中進行拉絲操作,由此可以獲得單絲直徑約8μm的原絲,*后,將纖維原絲進行合股加捻,從而獲得纖維紗或纖維織物。
其中,拉絲的具體過程可簡述如下:液態的高溫石英由石英棒底端滴出,拉絲機則保持恒定的轉動速率,從而將纖維牽伸和固化,形成連續纖維。石英棒下部形成被稱為“絲根”的新月形細絲。需要指出的是,纖維單絲在被拉出之后的過程中溫度會有大幅的下降,該效應對產品性能會產生一些影響。

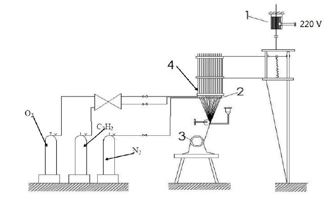
棒拉絲法(氣體加熱)石英纖維生產設備示意圖
1-送棒機;2-氣體加熱燃燒裝置;3-拉絲機;4-石英棒
由拉絲機拉出的那些纖維具有較高的強度,但其抗腐蝕性差,一旦暴露于空氣中,在很短的時間內即可能被腐蝕,因而給其收集帶來了困難。正是因為這個原因,在實際工藝中需要在纖維拉絲過程中給纖維表面涂抹浸潤劑,以起到抑制纖維斷絲、飛絲的作用,進而有助于確保拉絲作業正常進行。
石英纖維的浸潤劑一般可分為兩大類,即用于制備紡織紗的淀粉型浸潤劑和制備增強型制品的增強型浸潤劑。浸潤劑通常為水乳液,含水量在80%以上。需要說明的是,石英纖維原絲絲餅含水量可達10%左右,這些水分在工藝中往往是通過時長約為8~12h的遠紅外烘干來去除,以避免其對制備工藝帶來一些不良的影響。